Газовая рампа Elco s316 (арт. 3833489)
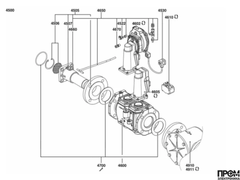
Газовая рампа Elco s316 (арт. 3833489) предназначена для автоматизации управления подачей газа и регулирования соотношения газа и воздуха. Устройство идеально подходит для пневморегулируемых горелок, обеспечивая безопасность и герметичность при перекрытии потока.
Работает с газами семейства 1-3 при давлении до 700 мбар. Компактные размеры облегчают монтаж в различных системах. В состав входят регулятор соотношения газ/воздух, два электромагнитных клапана, фильтр, регулятор давления и блок контроля герметичности, все с защитой IP 54.
Рабочие температуры от -15 до +70°C, питание 230 В. Для монтажа требуются фланцевые соединения DN 65 и запорный кран (в комплект не входит). Настройка должна выполняться квалифицированными специалистами.
Компания Промэлектроника — официальный дилер. sales@prom-elec.com
```Бренд | Elco |

























